
Одни из первых умных часов, появившихся на рынке, Samsung Galaxy Gear, имели встроенную камеру, которая не имела большого успеха, и, поскольку Apple Watch вскоре захватили большую часть рынка, от камер на умных часах в значительной степени отказались как от концепции.
Но недавно выданный патент показывает, что Apple все еще рассматривает (или когда-то рассматривала) идею дать Apple Watch камеру.
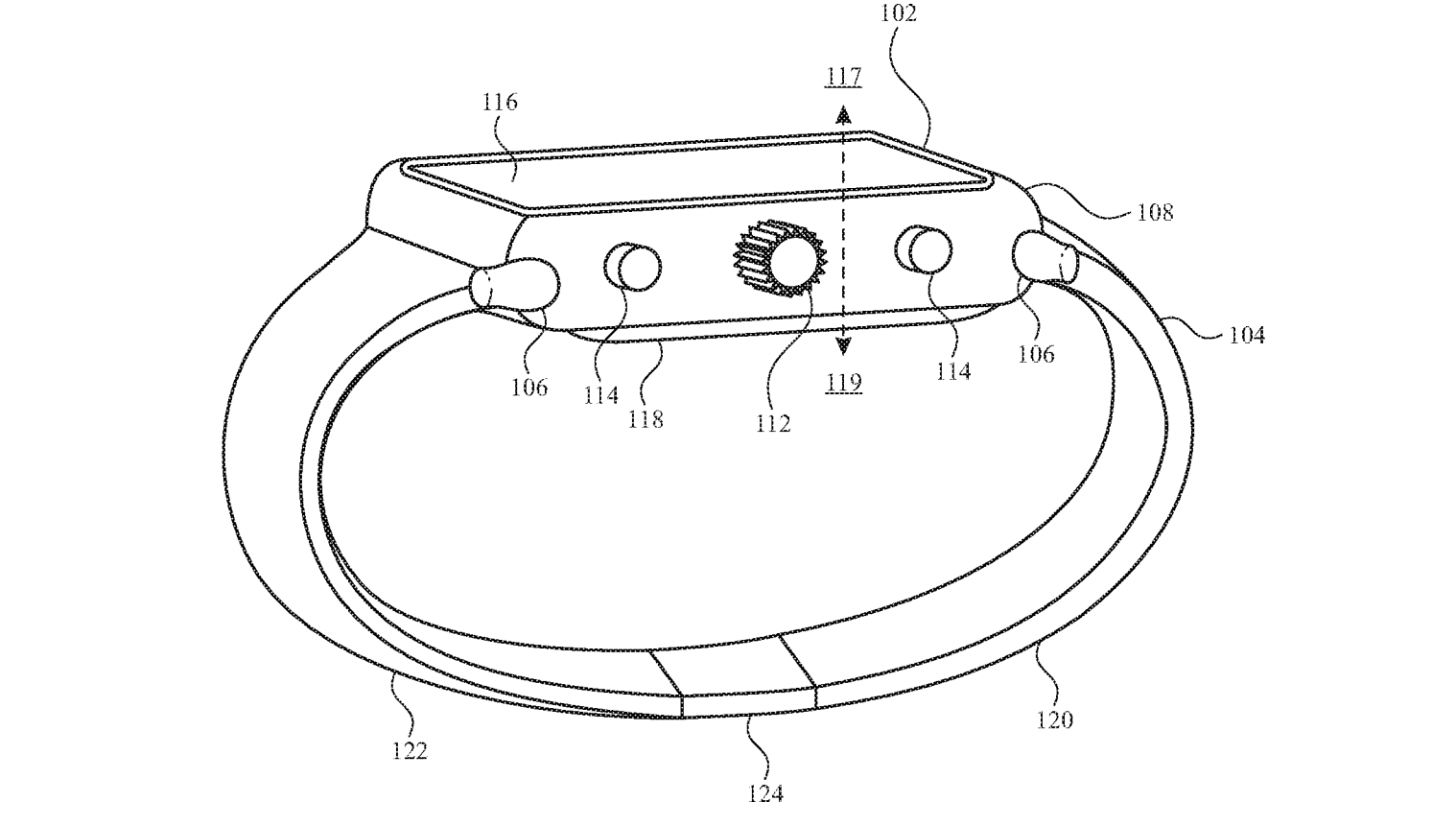
В патенте описаны часы с камерой, встроенной в заводную головку, а также должен быть излучатель света, который поможет при съемке фото в условиях низкой освещенности.
Проблема с камерами в умных часах заключается в том, что эта идея звучит хорошо на бумаге, но когда вам действительно нужно указать запястьем в каком-то направлении, чтобы сделать снимок, это быстро становится неудобным. Но у Apple есть решение для этого: в патенте описывается возможность снятия часов с запястья для более свободной фотосъемки.
Интересно, что патент был фактически подан еще в 2019 году, поэтому вполне возможно, что Apple с тех пор отказалась от этой идеи. Кроме того, тот факт, что компания подала патент на функцию, не гарантирует, что она действительно станет реальностью. Однако, если вы ищете способ делать фотографии с вашего запястья, теперь вы снова можете надеяться...
Что касается того, что мы можем ожидать от следующих часов Apple Watch, которые, вероятно, должны быть выпущены осенью, в сообщениях говорится, что они могут иметь новый, более плоский дизайн и несколько новых функций, связанных со здоровьем, включая мониторинг артериального давления, термометр и сон. отслеживание. Прочная версия часов, предназначенная для спортсменов и туристов, также может находиться в разработке.
Иван Ковалев
VIA
Nvidia утверждает, что ее новейший графический процессор GeForce RTX 4060 за 300 долларов на целых 20% быстрее, чем RTX