itkvariat

    Сколько времени нужно, чтобы получить бизнес-степень?

    4Бизнес от 28-06-2022 17:20, просмотров 2 061  
    Сколько времени нужно, чтобы получить бизнес-степень?

    Вам действительно нужно провести четыре года в колледже, чтобы получить степень бакалавра в области бизнеса? А как насчет МВА?...

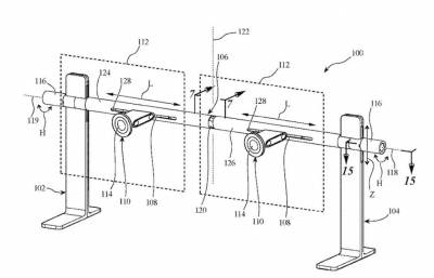
    Apple патентует систему крепления двух мониторов для Pro Display XDR

    Новости от 28-06-2022 16:52, просмотров 1 037  
    Apple патентует систему крепления двух мониторов для Pro Display XDR

    Apple работает над новой подставкой с двумя дисплеями, на которую можно установить пару мониторов Pro Display XDR, говорится в патентной заявке, выданной во вторник...

    iPad mini 7 может не получить долгожданный дисплей ProMotion

    Новости от 28-06-2022 16:47, просмотров 1 034  
    iPad mini 7 может не получить долгожданный дисплей ProMotion

    По словам аналитика, новые слухи о том, что следующий iPad mini будет оснащен дисплеем ProMotion, ошибочны, поскольку для этого потребуются значительные аппаратные изменения...

Сколько времени нужно, чтобы получить бизнес-степень?

4Бизнес от 28-06-2022 17:20, просмотров 2 061  
Сколько времени нужно, чтобы получить бизнес-степень?

Вам действительно нужно провести четыре года в колледже, чтобы получить степень бакалавра в области бизнеса? А как насчет МВА?...

Apple патентует систему крепления двух мониторов для Pro Display XDR

Новости от 28-06-2022 16:52, просмотров 1 037  
Apple патентует систему крепления двух мониторов для Pro Display XDR

Apple работает над новой подставкой с двумя дисплеями, на которую можно установить пару мониторов Pro Display XDR, говорится в патентной заявке, выданной во вторник...

iPad mini 7 может не получить долгожданный дисплей ProMotion

Новости от 28-06-2022 16:47, просмотров 1 034  
iPad mini 7 может не получить долгожданный дисплей ProMotion

По словам аналитика, новые слухи о том, что следующий iPad mini будет оснащен дисплеем ProMotion, ошибочны, поскольку для этого потребуются значительные аппаратные изменения...

ITквариат Powered by © 1996-2025 16+