
Pro Display XDR — это профессиональный монитор для пользователей, которым требуется максимально возможная точность цветопередачи и разрешение. Пользователи могут выбрать крепление VESA или подставку за 999 долларов, которая вызвала ажиотаж, когда о ней было объявлено в июне 2019 года.
Проблема с этой подставкой заключается в том, что она поддерживает только один Pro Display XDR. В патентной заявке, опубликованной 3 декабря Управлением по патентам и товарным знакам США и выданной 28 июня 2022 года, Apple подробно описывается подставка с двумя дисплеями, предположительно предназначенная для Pro Display XDR или аналогичного будущего монитора.
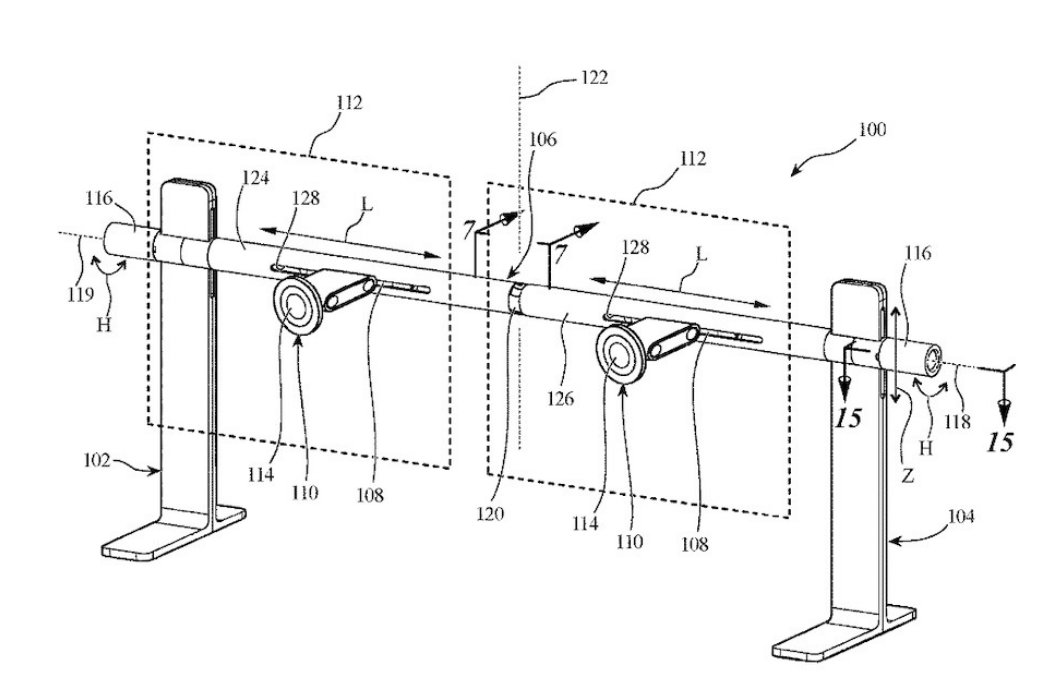
В патенте под названием "Подставка для двух дисплеев" подробно описывается ненавязчивое решение для монтажа, которое может обеспечить "вертикальную, горизонтальную и центральную степень свободы для нескольких дисплеев".
Apple отдельно отмечает, что существующие подставки для дисплеев часто выбирают "за удобство и естественность в использовании".
"Многие требуют, чтобы пользователь имел дело со значительным трением или гистерезисом, что делает регулировку сложной, неудобной и трудоемкой. Такие проблемы мешают подставке обеспечивать высокое качество и удовлетворять пользователей. Эти проблемы усугубляются, когда подставка для дисплея должна поддерживать более, чем один дисплей. Поэтому существует постоянная потребность в усовершенствовании подставок и опор для электронных устройств", — говорится в патенте.
Кроме того, в патенте отмечается, что на рабочих местах с несколькими дисплеями часто используются неоправданно большие, чрезмерно сложные, эстетически неприятные стойки и "неэффективные избыточные механизмы".
Решение, предусмотренное патентом, представляет собой систему крепления с одной горизонтальной планкой, к которой можно прикрепить дисплей. Крепление позволяет расположить монитор прямо или под углом, обеспечивая дополнительные углы обзора с помощью различных вариантов поворота.
"Подставка для дисплея имеет две разнесенные ножки, соединенные горизонтальной опорной балкой, которую можно прикрепить к нескольким дисплеям. Узлы каретки позволяют стойке регулировать вертикальное положение дисплеев, челноки и направляющие позволяют стойке регулировать горизонтальное положение дисплеев, а центральный шарнир на опорной планке позволяет регулировать угол между дисплеями", — говорится в патенте.
Большая часть патента разделяет философию дизайна, аналогичную другой патентной заявке, опубликованной в четверг, под названием "Подъемный рычаг дисплея".
Этот патент, поданный в тот же день, что и система Apple с двумя дисплеями, по существу подробно описывает существующую подставку Apple Pro Display XDR, предполагая, что Apple одновременно разрабатывает как доступную в настоящее время подставку, так и вариант с двумя мониторами. Обе патентные заявки также содержат большую часть одной и той же справочной информации.
Хотя патент Apple не сильно отличается от существующих систем крепления VESA, патент Apple описывает подставку для нескольких мониторов, которая обеспечивает простоту использования и регулируемость существующей подставки Pro Display XDR.
В патенте фигурируют Майкл Э. Леклерк, Бретт В. Дегнер, Дэнни Л. МакБрум, Дэвид Х. Нарайовски, Денис Х. Эндиш, Кристофер П. Лоран и Саймон Дж. Триветт как изобретатели. Большинство из них также были названы в патентной заявке на существующую подставку Pro Display XDR.
Конечно, Apple еженедельно регистрирует множество патентов, поэтому нет никакой гарантии, что подставка Apple с двумя мониторами появится, и нет никаких указаний на то, когда она может появиться.
Иван Ковалев
VIA
iPhone 15 и iPhone 15 Plus были официально представлены компанией Apple во вторник 12 сентября. Вот чем они отличаются